Après la draisienne aquatique et les lunettes à rétroviseurs, nous avons déniché pour vous une nouvelle invention qui pourrait révolutionner notre sac à main : le téléphone portable avec kit cosmétique intégré !

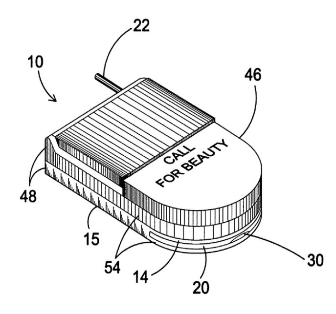
Breveté aux Etats-Unis en 2006 sous le numéro US7146184, cet ingénieux gadget, déposé par Aleko Tsitsiashvili, est en fait un téléphone à clapet tel que nous en rencontrions beaucoup il y a quelques années, avec un étage supplémentaire pour pouvoir stocker des cosmétiques et ainsi tout rassembler dans un seul et même boîtier. Fini l’encombrement et place au double usage !
Comme vous le verrez sur les schémas ci-dessous, le téléphone dispose d’un premier étage tout à fait fonctionnel avec les touches que l’on retrouve classiquement sur un téléphone à clapet, puis l’étage en-dessous présente une panoplie de produits pour les yeux et les lèvres, et un dernier étage sous forme de tiroir permet de découvrir le blush. Afin de parfaire l’utilisation de cet appareil, on trouve également un miroir éclairé qui s’active à l’ouverture, et l’espace pour un applicateur (brosse ou spatule) est prévu !
Il manque à cet appareil les évolutions importantes de ces dernières années sur les téléphones pour le rendre parfaitement irrésistible. Alors, un inventeur pour adapter cette invention aux smartphones ? Et pourquoi pas une IA intégrée pour vous conseiller sur la routine make-up ?
Brandon IP saura vous accompagner pour le dépôt d’une nouvelle demande de brevet. ?

